搜索

[维修养护] 防盗装置的安装

钱包鼓鼓 发表于 2015-7-20 22:45:04|来自: | 显示全部楼层 |阅读模式

1.防盗器安装前检查原车电路 1)中控锁电路:用原车钥匙(或中控锁开关)开启/关闭左前车门,观察所有车门是否在同一时间内开启/关闭。 2)车门开关:分别打开各车门,检查所有车门检测开关,是否接触正常,观察分别打开车门时,车顶灯是否正常亮。3)启动电路:用车钥匙旋转到ON位置,观察仪表盘内各指示灯亮起情况(如气囊、ABS、充电、发动机故障灯等),然后正常起动车辆,再观察各指示灯熄灭情况有无异常。 4)转向灯电路:钥匙转ON位置,分别打开左右转向灯开关,观察左右闪光灯频率(速度)是否一样(打开紧急双闪灯开关也可对转向灯电路进行检查)。

2.安装中配线注意事项

1)找出适合安装主机的位置(空调冷气出风口除外),仔细观察装饰板的结构状况,因为对接配线时须拆装装饰板。 2)中控锁线路部分连接,因车型不同,触发方式差别较大。3)门开关检测线连接时一定要接顶灯控制总线(四门总线),不要接在左前门的门开关线上,因为主门开关线和其他门开关线,是由加有的二极管分离开的,相互不连通,避免装防盗后在设定警戒时,出现开后门不报警现象。 4)断电器的连接中一定要先确认好点火线、燃油泵的控制线、启动线后再选择断开哪一路(断开起动线时没有防抢功能),防盗主机输入ON线要对接在断开电路上端。 5)电源负极导线最好与原车接地连接,电源正极线应在其他配线连接好后最后连接,所有配线一定要用绝缘胶布包扎牢固。

3.安装完成的功能测试

1)防盗器主机所有配线连接完成后,要先进行调试后再装上装饰板。2)关好所有车门用遥控器设定防盗10s后,振动车辆防盗器应立刻发出报警声音,振动感应器的灵敏度大小,可根据安装车型大小做适量调整。 3)全部功能测试完成后,应向车主讲解简单的常用功能操作方法,包括遥控和接收的大约距离,遥控器的电池使用时间,紧急解除开关的使用。 1)发动机断电回路继电器不要安装。 2)原车黄色线不要测量。 3)防盗器的中控锁配线与原车中控锁配线应合理连接。


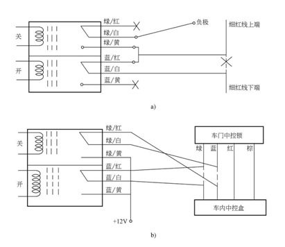
27.jpg

时代超人单线控制a)和正电回路控制图b)

四、汽车防盗装置实例

1.大众汽车系防盗系统


28.jpg

大众汽车第三代防盗系统的工作原理

2.通用(GM)车系防盗系统


29.jpg

通用车系防盗原理图

(1)工作电路将自动变速器打到P位(驻车)或N位(空挡),插入点火钥匙打到启动挡(START),防盗电脑即进行检测,将检测结果传递给中央控制电脑,中央控制电脑将电阻阻值与中央电脑板内部设定的特定电阻阻值相对比,二阻值若为同一挡,中央控制电脑就向A点提供一个低电位,将起动继电器控制电路搭铁而接通。

(2)通用(GM)防盗系统的性能检测 1)测量步骤:①将发动机盖、车门、油箱盖、行李箱门都关好。 2)钥匙的复制:通用车钥匙内部有设定电阻,复制钥匙的方法自然与一般不同,需要用专用仪器J35628-A进行复制。 (3)GM的遥控中央门锁控制系统GM的遥控中央门锁控制系统英文简称为RKE(Remote Keyless Entry)。 1)A型与W型车身系列的设定:其设定步骤如下:①将点火开关处于KEY-OFF位置。 2)C型、H型和F型车身系列设定过程:①将点火开关处于KEY-OFF位置。 3)Corvette车型:①将点火开关转到RUN位置。


全部回复0 显示全部楼层
暂无回复,精彩从你开始!

快速回帖

您需要登录后才可以回帖 登录 | 立即注册

本版积分规则